בית מוצרים דלת רסיסים

יתרונות דלת הרסיסים שלנו

הגנה מאושרת

כל גרסאות הדלת עמידות בדרישות פיקוד העורף הן להדף והן לרסיסים.

גרסה לכל צורך

8 גרסאות שונות – מסטנדרטית ועד מחוסמת ומוכנת לאימונים – מאפשרות התאמה מדויקת לכל פרויקט.

דיוק גבוה

ייצור CNC בדיוק מילימטרי. כל חלק מתוכנן ב-SolidWorks ומיוצר לפי תוכניות מאושרות.

התקנה פשוטה

גרסאות EZ ו-EasyClose מאפשרות התקנה והפעלה קלה יותר בשטח, גם עבור צוותים שאינם מנוסים.

מבט על המוצר

תמונות, שרטוטים ותצלומי חלקים מן הדגם הסטנדרטי.

חזית דלת רסיסים
מבט חזיתי – דלת רסיסים
מבט חזיתי נוסף
מבט חזיתי – וריאציה
מבט צדדי
מבט צדדי – עומק ומנגנון
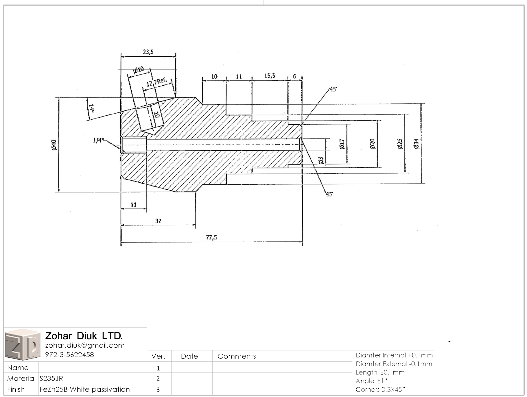
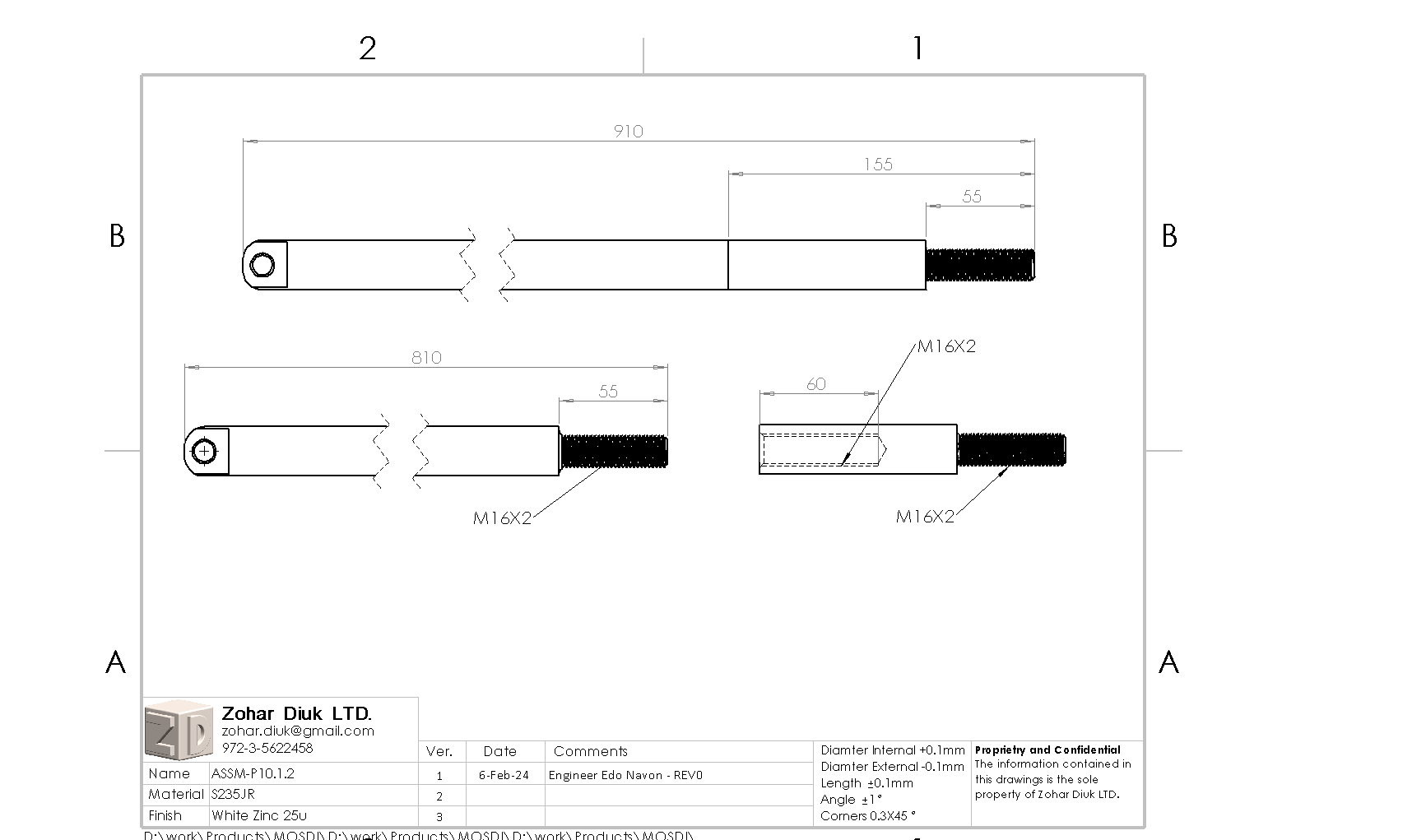
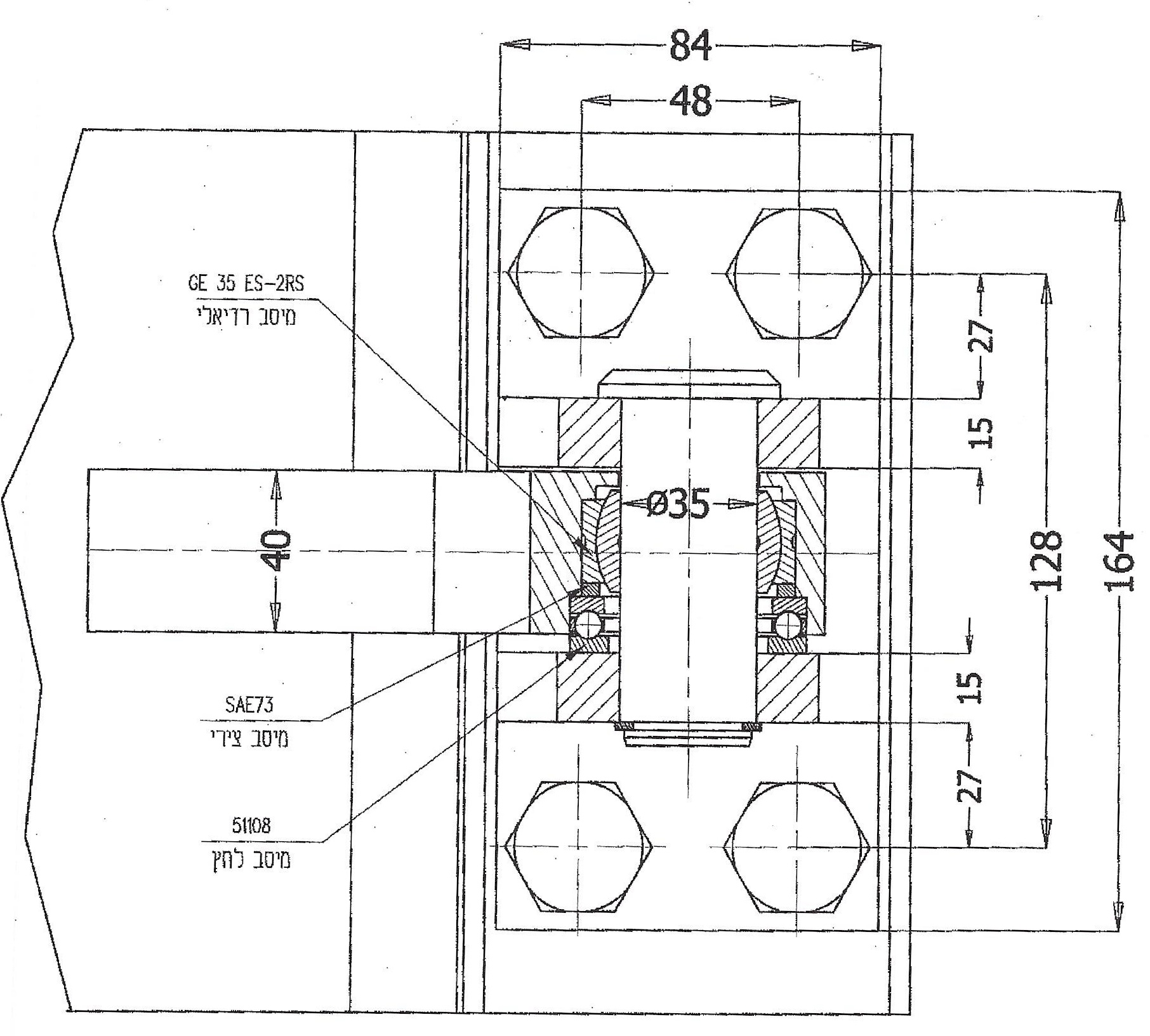
חלקים
חלקי הרכבה
מידות
תרשים מידות

8 גרסאות – גרסה לכל צורך

כל גרסה מבוססת על אותו ליבה מאושרת, עם תוספות המותאמות לדרישות שונות.

MOSDI סטנדרטי
MOSDI

דלת רסיסים סטנדרטית

הגרסה הבסיסית והנפוצה ביותר. מסגרת פלדה עם 52 חלקים, מתאים לפרויקטי בנייה חדשה ושיפוץ.

  • מסגרת פלדה 25 מ"מ
  • מגוון רוחבים וגבהים
MOSDI-32
MOSDI-32

דלת רסיסים – מסגרת 32 מ"מ

גרסה עם פרופיל מסגרת עבה יותר (32 מ"מ), מיועדת לקירות עבים יותר ולחיזוק מרבי בפרויקטים מסחריים.

  • פרופיל 32 מ"מ לחוזק מוגבר
  • מגוון גדלים: W25R / W32R
  • מתאים לקיר 250–400 מ"מ עומק
MOSDI-EZ
MOSDI-EZ

דלת רסיסים EZ – הרכבה פשוטה

גרסה מפושטת עם מספר חלקים מינימלי. מיועדת להתקנה מהירה ולשימוש בפרויקטים עם מגבלות זמן.

  • פחות חלקים – הרכבה מהירה
  • ידידותי למתקין
  • אפשרות חריץ (GROOVE) לאטימה
MOSDI-EasyClose
MOSDI-EASYCLOSE

דלת רסיסים EasyClose – סגירה קלה

מנגנון נשיאה על מיסבים המקל על סגירת הדלת. מיועד לדלתות כבדות ולמשתמשים הדורשים נוחות מרבית.

  • מנגנון מיסב (lager) לסגירה קלה
  • מתאים לדלתות מסוג BD21–BD26
  • אידיאלי לאוכלוסיות עם קושי פיזי
MOSDI-GVUL
MOSDI-GVUL

דלת רסיסים GVUL – עיגון קצה

גרסה עם מנגנון עיגון קצה מיוחד (דיסק + פין + מרכזת). מיועדת לחיזוק ועיגון הדלת גם בעומסים גבוהים.

  • דיסק עיגון (DISKA) ופין נעילה
  • מרכזת (CNTR) לדיוק בהרכבה
  • מתאים לדלתות גבול וקצה קיר
MOSDI-HARDEND
MOSDI-HARDEND

דלת רסיסים HARDEND – מחוסמת

גרסה מחוסמת המשלבת חומרים ועיבוד נוסף לשיפור עמידות מפני פגיעה קינטית. מיועדת למבנים ייעודיים ובטחוניים.

  • 27 חלקים מחוסמים (P1–P27)
  • חיזוק נקודות עומס קריטיות
  • מיועד לשימוש ביטחוני ואזרחי מיוחד
MOSDI-TRAIN
MOSDI-TRAIN

דלת רסיסים TRAIN – לאימון ולהדרכה

גרסת הדגמה לצורכי הדרכה ואימון. כוללת תיעוד מלא של הרכבה ופירוק, מתאימה למוסדות חינוך ואנשי שטח.

  • תיעוד מלא: ציר, בריח, ידית
  • ניתן להרכבה ופירוק חוזרים
  • מיועד להדרכות ולאנשי שטח
MOSDI-50PLATE
MOSDI-50PLATE

דלת רסיסים 50PLATE – לוחית 50 מ"מ

גרסה עם לוחית תחתית מיוחדת בעובי 50 מ"מ, המיועדת לקירות בעלי עובי חריג או להתאמות ייחודיות.

  • לוחית ייחודית 50 מ"מ
  • פתרון לקיר עם עובי חריג
  • משלים גרסאות 25 ו-32 מ"מ

השוואת גרסאות המוצר

טבלה זו מסכמת את ההבדלים העיקריים בין 8 הגרסאות לבחירת הגרסה המתאימה לפרויקט שלכם.

גרסה פרופיל מסגרת קלות הרכבה מנגנון סגירה עיגון קצה חיזוק נוסף ייעוד עיקרי
MOSDI סטנדרטי 25 / 32 מ"מ רגיל ידני בנייה חדשה ושיפוץ
MOSDI-32 32 מ"מ רגיל ידני קיר עבה / מסחרי
MOSDI-EZ פשוט 25 מ"מ גבוהה ידני התקנה מהירה
MOSDI-EASYCLOSE נוחות 25 / 32 מ"מ רגיל מיסבים נגישות / דלת כבדה
MOSDI-GVUL 25 מ"מ רגיל ידני דיסק + פין דלת קצה / גבול
MOSDI-HARDEND מחוסם 32 מ"מ רגיל ידני חיזוק מלא שימוש ביטחוני
MOSDI-TRAIN 25 מ"מ גבוהה ידני הדרכה ואימון
MOSDI-50PLATE 25 מ"מ + לוחית 50 רגיל ידני קיר בעובי חריג

איך מתקינים?

ההתקנה תתבצע ע"י קבלן מוסמך בהתאם לתוכניות המאושרות.

1

בחירת הגרסה המתאימה

בחרו גרסה לפי עובי הקיר, דרישות הנגישות, ומפרט הפרויקט. השתמשו בטבלת ההשוואה לעיל.

2

הכנת פתח הקיר

הכינו את פתח הקיר לפי מידות המסגרת הנבחרת. וודאו אנכיות ואופקיות מדויקות.

3

הצבת המסגרת

הכניסו את מסגרת הדלת לפתח הקיר, קבעו בעזרת יתדות ובדקו שוב את ישרות המסגרת.

4

יציקה וקיבוע

יצקו בטון לאחר שמיקום המסגרת אושר. המסגרת תיקבע בתוך הקיר לאורך חיי המבנה.

5

תלייה ובדיקת תפקוד

לאחר התקשות הבטון, תלו את כנף הדלת, כוונו את הצירים ובדקו פתיחה וסגירה תקינה.

נתונים טכניים

חומר מסגרתפלדה מגולוונת / מצופה אבקה
עובי פרופיל25 מ"מ (סטנדרטי) / 32 מ"מ (חיזוק)
גדלים זמיניםרוחב 850–1100 מ"מ, גובה לפי מפרט
עומק קיר מתאים250 / 400 מ"מ (לפי גרסה)
מנגנון סגירהידני / מיסבים (EasyClose)
אישוריםפיקוד העורף, ת"י 858
גרסאותסטנדרטי, 32, EZ, EasyClose, GVUL, HARDEND, TRAIN, 50PLATE

מעוניינים בדלת רסיסים? נשמח לעזור

צרו קשר לקבלת ייעוץ, המלצה על הגרסה המתאימה ומחיר.

דברו איתנו